Presumptive and follow up treatment associated with gonorrhea and chlamydia testing episodes in STD clinics: Impact of changing treatment guidelines for gonorrhea, STD Surveillance Network, 2015- 2018
Supporting Files
-
1 01 2023
-
File Language:
English
Details
-
Alternative Title:Sex Transm Dis
-
Personal Author:Llata, Eloisa ; Braxton, Jim ; Asbel, Lenore ; Huspeni, Dawn ; Laura, Tourdot ; Kerani, Roxanne P. ; Cohen, Stephanie ; Kohn, Robert ; Schumacher, Christina ; Toevs, Kim ; Torrone, Elizabeth ; Kreisel, Kristen ; Llata, Eloisa ; Braxton, Jim ; Asbel, Lenore ; Huspeni, Dawn ; Laura, Tourdot ; Kerani, Roxanne P. ; Cohen, Stephanie ; Kohn, Robert ; Schumacher, Christina ; Toevs, Kim ; Torrone, Elizabeth ; Kreisel, Kristen
-
Description:Background:
CDC recommendation for treatment of uncomplicated gonorrhea (NG) were revised in December 2020 and include ceftriaxone monotherapy when chlamydial infection was excluded. We evaluated the impact of these revised treatment recommendations using data from a network of STD clinics prior to the change in guidelines.
Methods:
We performed a cross-sectional analysis from 8 STD clinics participating in the STD Surveillance Network from Jan 2015-June 2018 assessing gonorrhea/chlamydia (CT) testing episodes, NAAT results, CT only and NG/CT treatment records, and timing of treatment. We describe the frequency of NG and CT treatment practices and what proportion of patients treated would not have had to receive an anti-chlamydial agent.
Results:
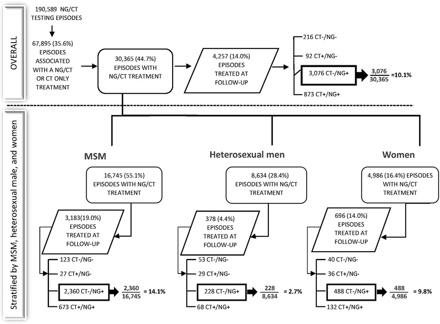
Of 190,589 episodes that occurred during the study period, 67,895 (35.6%) episodes were associated with a treatment record consistent with gonorrhea and/or chlamydia (CT only (n=37,530) or NG/CT (n=30,365)), most (~86%) were prescribed on the same-day as initial testing. Of the 67,895 episodes with corresponding treatment record(s), 42.1% were positive for either NG or CT compared to 3.7% were positive for NG or CT for those not associated with treatment records (n=122,694 episodes). Among 30,365 episodes associated with NG/CT treatment records, monotherapy would only have been indicated for 10.1% (3,081/30,365) of the episodes as they were treated on follow-up and were NG positive and CT negative.
Conclusions:
Treatment was prescribed in one third of NG/CT testing episodes, with the majority provided same day. Despite changes in NG treatment guidelines to ceftriaxone monotherapy, majority of patients would continue to receive an anti-chlamydia agent when treated for gonorrhea in these settings.
-
Keywords:
-
Source:Sex Transm Dis. 50(1):5-10 ; Sex Transm Dis. 50(1):5-10
-
Pubmed ID:36194764
-
Pubmed Central ID:PMC10147317
-
Document Type:
-
Funding:
-
Volume:50
-
Issue:1
-
Collection(s):
-
Main Document Checksum:urn:sha256:884523bc29098e506a60fd91f8d9c34f7911b31968523738502fd70e7583cdb5
-
Download URL:
-
File Type:
Supporting Files
File Language:
English
ON THIS PAGE
CDC STACKS serves as an archival repository of CDC-published products including
scientific findings,
journal articles, guidelines, recommendations, or other public health information authored or
co-authored by CDC or funded partners.
As a repository, CDC STACKS retains documents in their original published format to ensure public access to scientific information.
As a repository, CDC STACKS retains documents in their original published format to ensure public access to scientific information.
You May Also Like
COLLECTION
CDC Public Access